最新消息:20210816 当前crifan.com域名已被污染,为防止失联,请关注(页面右下角的)公众号

【记录】腾讯云的域名的实名认证并添加二级域名

Web crifan 4243浏览

折腾:

【已解决】Linode的CentOS的LNMP中添加二级域名book.crifan.com

期间,需要去:

去登录腾讯的DNSPod:

DNSPod-免费智能DNS解析服务商-电信_网通_教育网,智能DNS

登录 – 腾讯云

结果需要去实名认证:

登录腾讯的DNSPod

结果发现去:

登录 – 腾讯云

才能登录。

进去后,需要实名认证:

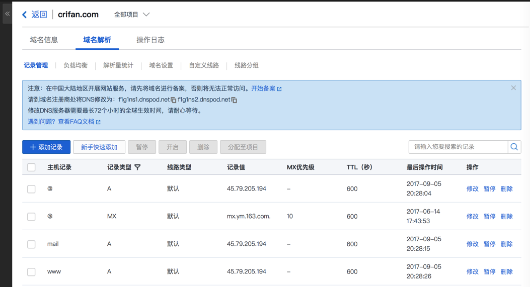
终于进来,能看到之前自己的域名了:

点击后,切换到域名解析:

主机记录:book

记录类型:A

线路类型:默认

记录值:45.79.205.194

其他默认就好。

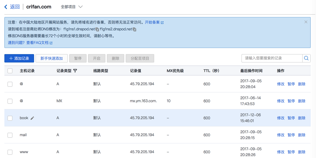
解析记录已添加成功,但生效时间取决于您的TTL设置:缓存将在600秒后失效,从而获取最新记录。

不再提示

转载请注明:在路上 » 【记录】腾讯云的域名的实名认证并添加二级域名

82 queries in 0.157 seconds, using 19.40MB memory